近日美国无人机公司SiFly向外界展示了他们的无人机产品,并宣称他们的无人机在续航时间,飞行距离,载重等方面全面超越其它同行。
SiFly对标的是大疆的行业无人机版本,并表示SiFly比竞争对手的飞行时间长 4 倍,飞行距离远 10 倍,噪音低 10 倍,有效载荷高 5 倍。 在中美贸易战的背景下,特别提及SiFly在美国制造,价格与中国产品相当。

我们都知道,目前旋翼无人机最大的问题就是续航问题。比如大疆的行业无人机M30的悬停时间只有36分钟,飞行时间只有41分钟,也已经是目前业内比较好的表现。
而SiFly声称,其开发的无人机一次充电可以悬停2小时,向前飞行3小时。这对于旋翼无人机可以说是一项重大突破,大多数旋翼无人机的应场景将在一次电量耗尽前完成任务,这也是行业用户看中的一点。

随着飞行时间延长,也意味着这款无人机具有更远的飞行距离。同时,SiFly还宣称这款无人机在载重方面也有更大的突破。
SiFly分为Q12长续航版本和Q250载重版本,而载重版本可以承载90公斤负重,持续飞行100分钟。
SiFly是如何做到这一点的呢?作为行业内的绝对头部大疆解决不了这些问题吗?根据SiFly对外的介绍,回答了人们的一些疑问。

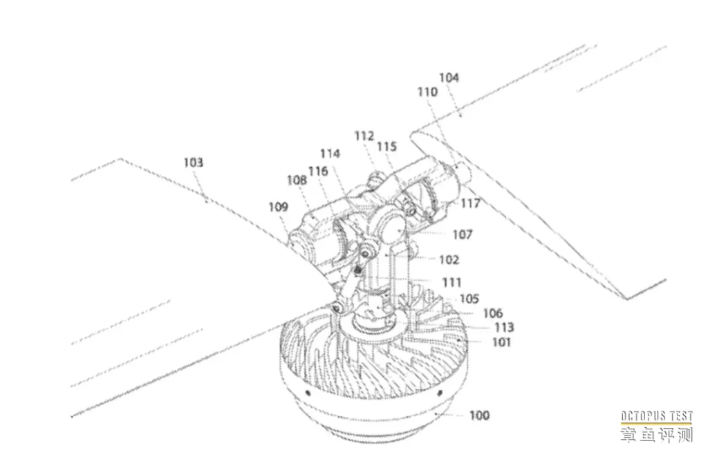
据悉SiFly采用了直升机螺旋桨的工作原理,重新设计了电机和螺旋桨结构,可根据电机扭矩以机械方式改变叶片螺距。
当扭矩为零或较低时,转子叶片几乎保持平直。但随着电机施加更大的扭矩,电机外壳内的一根“扭转柔性轴”开始扭转,该柔性轴与一个机构相连,该机构使叶片倾斜,直到达到预定的最大螺距时停止。随着扭矩减小,柔性轴会弹性地回到未扭转状态,叶片螺距再次下降。
因此,发动机运转越猛,桨叶上仰角就越大——非常适合携带大载荷起飞和悬停。而当你施加相对较低的扭矩以保持桨叶在前飞中转动时,桨叶会下仰,从而实现低阻力巡航状态。

这也为 SiFly 提供了一种有趣的方式,可以快速增加或减少升力,而无需等待螺旋桨转速达到控制输入。
从其公布的专利来看,这款无人机在下降过程中,更多的利用空气动力推进螺旋桨。从多个方面达到节电的应用能力。
这也意味着,SiFly要在飞行控制方面投入更多,需要有更精准的算法控制,才可以保持这款飞机的飞行平稳并且真正的易于操控。

同时SiFly为无人机配置了更大的电池,目前大多数多旋翼飞行器的电池重量比低于 35%。而SiFly优化后的比值要高得多,接近 60% 甚至更高。在电力方面还设计了储能回收能力,让螺旋桨旋转本身实现电力回收,这都是增强其电力续航的设计思路。
针对国产化和成本方面,SiFly对于螺旋桨等配件,会采用马来西亚,越南供应链等产品,电池方面从普通的锂聚合物电池替换为电动汽车电池,以实现成本的降低。
这些电动汽车电池针对的是能量存储而不是峰值功率输出进行优化,因此它们在飞行耐力方面表现更好。
根据SiFly官网显示,今年将批量交付Q12长航时无人机系统。2026年会交付Q250大载重长航时无人机系统。

针对业界普遍的质疑,SiFly公布了试飞视频,长达2小时的悬停视频,被压缩为30秒的延时摄影,也给很多潜在用户提供信心。
不管如何,SiFly的无人机目前还未正式投放市场,而大疆已经在这一领域领先多年,有丰富的产品线。至于SiFly的表现如何,我想只能等到SiFly真正开始销售后,客户真实的反馈,才可以评判。但是2-3小时的续航时间,确实是旋翼无人机领域的重大突破,有足够的吸引力让客户购买。
本文仅代表个人观点,只做交流分享之用。部分资料来源与网络,如有侵权请随时联系处理。发布者:章鱼评测,未经作者本人授权,禁止任何形式转载本网站内容。微信:15711082980:https://500miao.com/?p=2551